Original CONTENTS OF THE BOOK in
BLUE with
EXPLANATIONS
and PHOTOS Inserted.
CHAPTER I. INTRODUCTION . 15
Growth of the Industry. Uses of Hydrogen. Sources of Hydrogen
Supply. Classification of Systems of Production. Choice of Process.
Safety Precautions.
- Explanation from Steve. Chapter one
covers the history and use of hydrogen. Hydrogen has been used
for several centuries on a regular basis. In the beginning it
was used for balloons and other lighter than aircraft. Hydrogen has
also EXTENSIVELY used in the metals field. For the reduction
of a metal oxide to a metal. A good source of hydrogen makes
it easy to make iron, zinc, aluminum and a whole variety of other
metals. It is also used to increase the heat transfer inside a
furnaces and as an isolation atmosphere. We have been able to
produce hydrogen on large scales since the 1800's and even more so
since the early 1900's. Only today in the 21st century is the
general public so blind to the fundamentals of chemistry and the
massive uses of hydrogen and views it with such tunnel vision.
Hydrogen *IS* extensively made and used by all petroleum refineries.
Some ways crude, others simple, some small and most are large.
Chapter 2 below covers one of the ways that it is made in towers 100
feet tall. The same method ALSO works on a 4 foot tower which
we will be demonstrating SOON on video snippets to you. This
book *IS* very applicable to the experimenter, the hydrogen
enthusiast and the student or researcher.
CHAPTER II. HYDROGEN FROM STEAM AND IRON . .
25
Reactions of the Process. Historical. The Contact Mass. Typical
Generator Units. Multi-retort Type. Single-unit Type. Operational
Procedure. The Reduction Phase. The Steaming Period. Aeration.
Thermal Balance of Process.
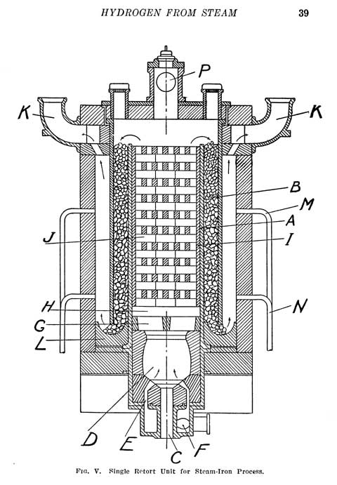
 |
The diagram on the left is a
diagram of a classic iron steam reactor. Iron and
steam form Hydrogen. Large amounts of it.
This reactor can be 300feet tall, it can be 3 feet tall.
Ok..maybe 4 feet. You can heat and operate it with
natural gas, propane or charcoal. It is made of brick,
firebrick, high temp insulation, iron balls, iron tubes
and a little chewing gum. No expensive catalysts
or precious metals or silly membranes that get
contaminated. Iron plus steam equals iron
oxide and hydrogen. Every time you see rust on
iron, you saw where hydrogen was produced.
Iron can rust from oxygen in the air, but it does it
very very slowly compared to rusting from contact with
water ( H2O). Where there is rust, there was
hydrogen produced, every time. The Iron ( Fe)
grabs the Oxygen ( O ) from Water ( H2O) and it forms
FeO or Fe2O3 or Fe3O4 and the Hydrogen ( H2) gets
liberated. This reaction can happen slowly at room
temperature (or even in the artic) or it can happen
faster at the temperature of a natural gas flame, about
1800F, bright red temperature. This temperature is
not hard to reach and ceramic kilns that artists use
operate at a much higher temperature.
If you want to know what A - P are so you can think
about making one of these for yourself then you need to
get the book. You can do this with natural gas, fire
brick, some iron tubes, a bunch of steel hex nuts and a
pressure cooker for a steam source. We will be
showing you this on video in the near future. |
CHAPTER III. HYDROGEN FROM WATER-GAS AND
STEAM . 60
Theoretical. The Continuous Water-Gas Catalytic Process. Outline.
Catalysts. Operational Details. Gas Composition Flow-sheets. Plant
Details. Further Purification: Griesheim-Elektron Process. Outline.
Literature Resume. Mechanism of Reaction. Operational Details:
Dieffenbach and Moldenhauer Process. Outline. Literature Resume.
Mechanism of Reaction.
Carbon and water makes Hydrogen (H2) and
Carbon Monoxide (CO). Depending on the temperature of the
reaction, the speed of the reaction and if a catalyst used. It
can run at lower temperatures with a non-precious metal catalyst.
In many cases the nickel and/or iron in the tubes are enough for a
catalyst. The reaction generally makes CO and H2. This is
called " Water Gas " ( or it use to ) and is now called Synthesis
Gas in many fields. If more water is added to the CO then more
Hydrogen is produced. CO is thought of a poison but it is a
wonderful, incredible chemical that is the foundation of the future
hydrogen economy. You could not have much of what is around
and on you without CO. Next time you read a "hydrogen book"
from some "expert", if you don't see details in there on Carbon
Monoxide, throw the book in the trash because it is mush for the
masses from a brain full of mush. So the CO combines with H2O to
make CO2 (carbon dioxide) and more H2. This very important for
you to understand ( especially students) because this is called a
Water Gas Shift (WGS) and is the basis of reformation used to make
(attempts at it) hydrogen for fuel cells.
CHAPTER IV. HYDROGEN FROM WATER-GAS BY LIQUEFACTION . 90
Theoretical. The Linde-Frank-Caro Process. The Claude Process.
Composition of Gas Fractions. Utilization of Carbon Monoxide
Fraction. Plant Details. General Remarks. Miscellaneous Physical
Methods of Preparation.
Take the gas you make in chapter 2 and run it
through some high pressure compressors, do some heat exchange, and
more heat exchange and you start getting very low temperatures.
If your gas stream coming out is mostly hydrogen and carbon dioxide
then you do not have to get cold enough to make liquid hydrogen ( ~4
Kelvin), but just cold enough to make dry ice ( solid CO2), or even
liquid CO2 ( used in paint ball guns). What is left is COLD
HYDROGEN! Ok. its separated. While you are at it you might as
well make some liquid oxygen and nitrogen. ( see the book Industrial
Gasses at
www.KnowledgePublications.com) Note: we will be
having some video snippets on how to make VERY VERY cold
temperatures with off the shelf equipment.. Note: A bunch of
"free energy" NUTS get all excited about the " Linde " process. DO
NOT confuses the genius of this industrial pioneer with the
crackpots using his good name for their bunk.
CHAPTER V. HYDROGEN BY ELECTROLYSIS . 102
Theoretical. Energy Factors. Mechanism. Early
Forms of Apparatus. Modern Plants. I. 0. C.-Unit
Generator. Levin Cell. Burdett Cells. High Amperage Units.
By-Product Electrolytic Hydrogen. Energy Factors in Alkali-Chlorine
Cells. Types of Cells.
Electrolysis of hydrogen is the form that most
of you are familiar with and it is where a lot of the ' hype ' is
today in modern (ignorant) society. Electrolytic hydrogen has
been made on an industrial scale for over 100 years. In fact,
OXYGEN is either made in two main methods. Liquefaction of Air (
again, see Industrial Gasses at
www.KnowledgePublications.com ) or by electrolysis. Today
submarines continue to make their oxygen for breathing by
electrolysis. If you need to make small volumes of pure
oxygen, you'd use this method today as well. In this chapter
are diagrams of large industrial sized electrolyzers that are NOT
made with fragile, expensive, hard to get proton exchange membrane (PEM).
The metals and the separators and the gas separation is simply
detailed. Personally I think this is the most boring part of
the book, but if you are excited about electrolyzers then this
chapter is for you! These can be made to run on
10,000amps, or 10amps. The science is the same.
CHAPTER VI. HYDROGEN FROM WATER . . 123
The Bergius Process. Description of Process. General Discussion.
Field Processes. Metallic Sodium Processes. Hydrolith Process.
Aluminum Amalgam Processes.
This chapter discusses the methods of making
large amounts of hydrogen quickly. Such as in past military
applications when H2 was used for observation balloons and for
'barrage balloons' and meteorological balloons. Thus it talks
about portable hydrogen generations significantly. From the
production of H2 from Carbon and Water in a pressure vesicle at
about 650F. It makes CO2 and H2 all day. Chapter covers using iron
instead of carbon in the same process, the use of metalic sodium for
rapid hydrogen production from water ( sodium is the 3rd cheapest
metal to make behind iron and zinc), the use of rapid hydrogen
production from hydrides such as Calcium Hydride and advanced
methods of using aluminum and water.
CHAPTER VII. HYDROGEN FROM AQUEOUS ALKALIS
. . 131
The Silicol Process. Outline. Literature Resume. Experimental Data.
Plant Details. Operational Details. Ferro-Silicon Specification. Gas
Composition. The Sludge and Its Disposal. General Remarks on
Efficiency and Economy : Aluminum-Sodium Hydroxide Process.
Covers the generation of hydrogen from Si (
silicon). That's elemental silicon, NOT silicone you use on a
bath tube and the hybrid of silicon called Ferro-Silicon.
Ferro-Silicon is one of the most dense, reactive ways of storing /
transporting hydrogen for making large volumes of it very quickly in
a very small amount of space. The chapter also covers in
chemical detail the " Drano + aluminum foil + water " method you pay
$10 for on ebay. Only this covers the chemistry of Aluminum
and Sodium Hydroxide and the byproduct of the reaction.
CHAPTER VIII. HYDROGEN FROM HYDROCARBONS . .
147
Stability of Hydrocarbons. Processes of Thermal Decomposition. From
Coal-Gas. From Natural Gas, Petroleum and Tar Oils. From Acetylene.
Processes of Interaction with Steam.
There is a hydrocarbon gas in this chapter
that is cheap and easy to obtain that wants to make hydrogen very
easily and very quickly. In as small of an area as a 12" piece
of 1/4" tubing that is red hot. Hydrogen is made from
hydrocarbons on a very large scale today, and you can do it to.
You must understand the field.
CHAPTER IX. MISCELLANEOUS AND BY-PRODUCT
HYDROGEN PROCESSES . . 160
The Decomposition of Formates. Hydrogen from Dehydrogenation
Processes. Hydrogen from Fermentation Processes. Hydrogenite
Process. Hydrogen from Sulphides. Hydrogen from Acids.
Covers the generation of hydrogen from
mostly organic sources. Including the dehydrogenation of
alcohol. Using " booze" as a source of Hydrogen by decomposing it
with heat and copper. Chapter also covers making
hydrogen by FERMENTATION. Yes! a special yeast that you can
still purchase that will decompose cellulose or corn or any of the
sugars. It produces flammable liquids that CAN be distilled
off to run your car with hydrogen boosting AND it also makes H2 and
CO2 in abundance. So much abundance that a company took these '
undesirable byproducts' and converted it under pressure into
methanol and sold the methanol. This makes millions of times more
hydrogen than 'blue green algae' Entire industries,
especially during WWII, were entirely dependent on this
method. This CAN be done in a 5 gallon container OR it can be
done in tanks that take up hundreds of thousands of gallons.
CHAPTER X. THE PURIFICATION AND TESTING OF
HYDROGEN . 171
Purity of Commercial Product. Removal of Sulphur Compounds. Removal
of Carbon Dioxide. Removal of Carbon Monoxide. Removal of Methane.
Removal of Phosphine and Arsine. Removal of Oxygen. Removal of Water
Vapour. Testing of Hydrogen. Physical Methods: Effusion Apparatus.
Thermal Conductivity Processes. Gas Interferometer. Chemical
Methods: Analysis for Carbon Monoxide. Analysis for Oxygen.
Detection and Estimation of Phosphine, Arsine, Sulphuretted Hydrogen
and Acetylene.
How to purify hydrogen, clean it up, remove
sulfurs, how to test it etc.... great chapter.
APPENDIX . . 201 |