|
|
Published by
www.KnowledgePublications.com
|
Original CONTENTS OF THE BOOK in BLUE with EXPLANATIONS and PHOTOS Inserted. CHAPTER I. INTRODUCTION . 15 Growth of the Industry. Uses of Hydrogen. Sources of Hydrogen Supply. Classification of Systems of Production. Choice of Process. Safety Precautions. - Explanation from Steve. Chapter one covers the history and use of hydrogen. Hydrogen has been used for several centuries on a regular basis. In the beginning it was used for balloons and other lighter than aircraft. Hydrogen has also EXTENSIVELY used in the metals field. For the reduction of a metal oxide to a metal. A good source of hydrogen makes it easy to make iron, zinc, aluminum and a whole variety of other metals. It is also used to increase the heat transfer inside a furnaces and as an isolation atmosphere. We have been able to produce hydrogen on large scales since the 1800's and even more so since the early 1900's. Only today in the 21st century is the general public so blind to the fundamentals of chemistry and the massive uses of hydrogen and views it with such tunnel vision. Hydrogen *IS* extensively made and used by all petroleum refineries. Some ways crude, others simple, some small and most are large. Chapter 2 below covers one of the ways that it is made in towers 100 feet tall. The same method ALSO works on a 4 foot tower which we will be demonstrating SOON on video snippets to you. This book *IS* very applicable to the experimenter, the hydrogen enthusiast and the student or researcher. CHAPTER II. HYDROGEN FROM STEAM AND IRON . . 25 Reactions of the Process. Historical. The Contact Mass. Typical Generator Units. Multi-retort Type. Single-unit Type. Operational Procedure. The Reduction Phase. The Steaming Period. Aeration. Thermal Balance of Process.
CHAPTER III. HYDROGEN FROM WATER-GAS AND
STEAM . 60 CHAPTER VII. HYDROGEN FROM AQUEOUS ALKALIS
. . 131 Covers the generation of hydrogen from
mostly organic sources. Including the dehydrogenation of
alcohol. Using " booze" as a source of Hydrogen by decomposing it
with heat and copper. Chapter also covers making
hydrogen by FERMENTATION. Yes! a special yeast that you can
still purchase that will decompose cellulose or corn or any of the
sugars. It produces flammable liquids that CAN be distilled
off to run your car with hydrogen boosting AND it also makes H2 and
CO2 in abundance. So much abundance that a company took these '
undesirable byproducts' and converted it under pressure into
methanol and sold the methanol. This makes millions of times more
hydrogen than 'blue green algae' Entire industries,
especially during WWII, were entirely dependent on this
method. This CAN be done in a 5 gallon container OR it can be
done in tanks that take up hundreds of thousands of gallons. How to purify hydrogen, clean it up, remove
sulfurs, how to test it etc.... great chapter. |
|
BUY NOW
$34.95 or less! |
To Purchase Industrial Hydrogen and/or the Hydrogen |
SUBJECT INDEX
| Acetylene, detection and estimation in hydrogen,
200. -, hydrogen from, 157-158. Acids, hydrogen from, 169, 170. Alkali formates, decomposition of, 160-162. - -, synthesis of, 160-161. Aluminum-amalgam hydrogen process, 129. Aluminum-sodium hydroxide process, 145. Ammonia synthesis, hydrogen requirements for, 16. Ammoniacal copper solutions, purifi- cation of hydrogen by, 185-188. Analysis of hydrogen, 191-200. Aqueous alkalis, hydrogen from, 131-146. Aqueous alkalis, purification processes with, 184-185. Argon in nitrogen-hydrogen mixtures, 74. Arsine, detection and estimation in hydrogen, 199. Arsine, removal from hydrogen, 190. Bamag-Bunte process, 153, 154. Bergius process, 123-127. Burdett hydrogen cells, 117-118. By-product electrolytic hydrogen, 120-122. Calcium carbide, purification with, 188. Carbon deposition, steam-iron process, 45. -- , - - - , prevention of, 46. Carbon dioxide removal, 72, 73, 80, 176-178. Carbon disulphide, removal from hydrogen, 175-176. Carbon monoxide, catalytic decomposition, 45. - estimation in hydrogen, 195198. - -, liquefaction of, 90-99. - -, removal of, 64-80, 90-99, 178188. Catalytic hydrogenation, 16, 179, 180. |
Catalysts for interaction of hydrocarbons with steam, 158.
Catalysts for water-gas reaction, 6469. Chemical analysis of hydrogen, 195200. Choice of hydrogen process, 21, 22. Classification of production methods, 19-21. Claude liquefaction process, 94-96. Coal gas, hydrogen from, 152-154. Contact mass, steam-iron process, 28-31. - -, reduction of, 42-48. - -, steaming of, 48-52. Cuprous salts, ammoniacal, for hydrogen purification, 185-188. Dehydrogenation processes, hydrogen from, 163-165. Dieffenbach and Moldenhauer process, 86-89. - - - -, mechanism of, 88-89. - - - -, theory of, 63. Diffusion processes of hydrogen preparation, 99-100. Efficiency of liquefaction process, 98-99. - - silicol process, 144. - - steam-iron process, 56-59. - - water-gas catalytic process, 75. Effusion meters, 191-192. Electrolabs-Levin Cell, 115-117, 118. Electrolytic hydrogen, 102-123. - -, apparatus for, 107-118. - -, by-product, 120-122. Electrolytic hydrogen cells, Burdett, 117. - - Garuti, 108. - - International Oxygen Co., 110. - - Levin-Electrolabs Co., 115. - - Schmidt, 109. - - Schoop, 110. - - Schuckert, 110. Electrolytic hydrogen production, theory of, 102-106. - - -, operating details, 119. |
| Equilibria, iron oxides and carbon monoxide, 27. -, iron oxides and hydrogen, 2526. -, water-gas reaction, 45, 46, 50, 60, 61. -, with steam and hydrocarbons, 150-152. Estimation of impurities in hydrogen, 191-200. Fermentation processes, hydrogen from, 165. Ferro-silicon specifications, for hydrogen production, 143. Field processes of hydrogen production, 127-130. - -, aluminum amalgam, 129. - hydrolith, 128. - -, metallic solium, 127. Flow sheets, liquefaction process, 91. -, water-gas catalytic process, 74, 76. Gas consumption, liquefaction process, 91, 98. - -, steam-iron process, 44-47. - water-gas catalytic process. 75. Gas interferometer, use of, in hydrogen analysis, 194. Greenwood's modification of Gries- heim-Elektron Co's process, 84. Griesheim-Elektron Co's process, 80- 86. - - -, mechanism of, 82. - - -, patent literature, 81. Griesheim-Elektron Co's process, purity of gas from, 85. - - -, theory of, 62-63. Harger-Terry purification process, 180-183. Hydrocarbons, hydrogen from, 147159. - -, theory of, 147-152. Hydrocarbons, interaction with carbon dioxide, 151. - - steam, 158, 159. Hydrocarbons, thermal decomposition of, 152-158. Hydrogen from acetylene, 157-158. - acids, 169-170. - alkali formates, 160-162. aluminum amalgam, 129. - - aluminum-sodium hydroxide, 145. - aqueous alkalis, 131-146. coal gas, 152-154. - dehydrogenation processes, 163165. |
Hydrogen from diffusion processes, 99-100. - - electrolytic processes, 102-123. - fermentation processes, 165. - ferro-silicon, 131-145. - field processes, 127-130. - - hydrocarbons, 147-159. - Hydrogenite process, 167. - Hydrolith process, 128. - Lane process, 31-37. - - liquefaction processes, 90-99. - - Messerschmitt system, 37, 38. - - natural gas, 154-157. - petroleum, 154. - - sulphides, 169. - - silicol process, 131-145. - sodium, 127. - steam, 25-59. - tar oils, 154-157. - - volcanoes, 18. - water-gas, 90-99. - - water-gas and steam, 60-89. Hydrogenite process, 167, 168. Hydrogen purification, 171-191. Hydrogen sulphide, removal from hydrogen, 173-175. Hydrogen supply, sources of, 18, 19. Hydrolith process, 128. Ignition temperatures of gases, 23. Inflammability of hydrogen, 23. Interferometer, use of, 194. International Oxygen Co.'s electro- lytic hydrogen cells, 110-114. Lane generator, 32-34. Levin electrolytic cell, 115-117. Linde-Frank-Caro process, 92-94. Liquefaction processes, 90-99. - - Claude process, 94-96. - composition of gas, 96, 97. - - efficiency of, 98, 99. - - flow sheet. 91 - Linde-Frank-Caro, 92-94. - -, plant details, 97-99. Messerschmitt hydrogen plant, 37, 38. Methane from carbon monoxide, 179. -, hydrogen from, 152-158. -, removal from hydrogen, 75, 152158, 188, 190. Meteoric hydrogen, 18. Multi-retort generators, steam-iron process, 31-37. Natural gas, hydrogen from, 154157. Nitrogen-hydrogen mixtures in water-gas catalytic process, 73. |
| Nitrogen in liquefaction process hydrogen, 91. Nitrogen in spent water-gas, 47. Nitrogen in steam-iron process hydrogen, 50, 172. Nitrogen in water-gas, 47. Nitrogen in water-gas catalytic hydrogen, 50, 172. Nitrogen, removal from hydrogen, 188. Oechelhauser process, 153. Over-voltage, hydrogen, 104, 105. - - oxygen, 104-106. Oxygen detection in, 199. - estimation in, 198, 199. - removal from hydrogen, 191. - requirements for preferential com- bustion, 180. Petroleum, hydrogen from, 154-157. Phosphine, detection and estimation in hydrogen, 199. -, removal from hydrogen, 190. Physical methods of hydrogen prep- aration, 90-101, 102-123. Preferential combustion of carbon monoxide, 180-183. Pressure water washing, carbon dioxide removal by, 80. Purification of hydrogen, 171-191. - - from arsine, 190. - - - - carbon dioxide, 80, 176178. - - - carbon disulphide, 175. - - - carbon monoxide, 178-188. - - hydrogen sulphide, 173175. - - - methane, 188-190. - - - nitrogen, 188. - - - oxygen, 191. - - - phosphine, 190. - - water vapor, 191. Reducing gases, steam-iron process, 42-48. Rincker and Wolter process, 154155. Safety precautions, 22, 23. Silicol process, 131-145. - experimental data, 132-139. - ferro-silicon specifications, 143. - -, generator problems, 136, 137. - -, heat effect in, 135. - -, operating details, 141, 142. - -, plant details, 139-141. - -, sludge disposal, 144. - -, sodium hydroxide requirements, 138. |
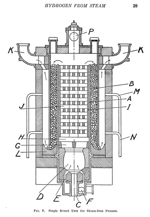
Single retort system, steam-iron process, 37-41. Soda-Lime, purification of hydrogen by, 183, 184. Sodium, hydrogen from - and water, 127, 128. Specific heats of carbon dioxide, carbon monoxide, hydrogen and steam, 55. Spent water-gas, steam-iron process, 46, 47. Steam-iron process, 25-59. - -, aeration, 52. - - Bamag plant, 41. - - -, contact mass, 28-31. - efficiency of, 56-59. - - -, Grigg's modification, 38-40. - - -, historical, 27, 28. - - -, Lane generator, 32-34. - multi-retort type, 31-37. - -, purification of gas, 51-52, 171-191. - - -, purity of gas, 50, 51, 172. - -, reduction phase, 42-48. - - -, scavenging period, 49. - -, single retort type, 37-41. - - -, steaming phase, 48-52. - - -, thermal balance, 53-59. - - -, water - gas - hydrogen ratio, 44-47. Sulphides, hydrogen from, 169. Tar oils, hydrogen from, 154-157. Testing of hydrogen, 191-200. - - - chemical methods, 195-200. - - physical methods, 191-195. Thermal conductivity of hydrogen and other gases, 193, 194. Utilisation of hydrogen, 15, 16, 17. - - -, future possibilities, 17. Vapor pressure of carbon monoxide, 92. - - - nitrogen, 92. Volcanic hydrogen, 18. Water-gas, analysis of, 61. Water-gas catalytic process, 64-80. - - -, carbon dioxide removal, 72. - - - catalysts for, 64-69. - - - -, catalytic unit, 76. - - - flow sheets, 74, 76. - - -, gas compressors, 79. - - -, heat interchangers, 77. - - -, operation of, 69-74. - - -, outline of, 64. - - -, plant details, 76-80. |
| Water-gas catalytic process, steam consumption,
70-72. — — —, theory of, 60-62. —, water compressor, 79. - — —, water-gas, hydrogen ratio, 75. Water-gas consumption, liquefaction process, 98, 99. |
Water-gas consumption, steam-iron process, 43-45. — —, water gas catalytic process, 75. Water-gas equilibrium, 45, 46, 50, 60, 61. Water-gas reaction, heat of, 54. Water vapor, removal from hydrogen, 191. |