Published by www.KnowledgePublications.com
INDUSTRIAL HYDROGEN
The history of the production of hydrogen starts at the very beginning of chemistry.  Indeed the foundation of modern chemistry, Sulfuric Acid (H2SO4) was dependent on hydrogen being sourced to it from the reaction with water.  The number and methods and uses of hydrogen would fill an encyclopedia and 98% of it would not be of any use to those of you who are seeking the UNDERSTANDING and the KNOWLEDGE required for the PRODUCTION of hydrogen.  This book covers the production of Hydrogen on an INDUSTRIAL SCALE.   Which means LARGE.   The great, great majority of the methods in this book can be made and used on a daily basis on a BENCH SCALE.  That means 3 feet instead of 300 feet in size.

We are not republishing and distributing this book for the the heck of it.  This book as well as all of the other new books we are producing under license were CAREFULLY selected by Steven Harris and Roy McAlister.  This methods in this book cover 85% of the modern methods of hydrogen production.  It even includes the production of H2 from Bacteria, in such large amounts it makes the blue-green algae hype look like the junk it is.   This book is a treasure. Keep in mind, its not the only gold you need to have in your treasure chest, but it is a great piece.  This book is written in SIMPLE English.  The chemistry and math is NOT complex.

Below.. you will find the Table of Contents of the book in BLUE and the Subject Index.  I have inserted comments below in a light green to explain what is in each chapter.

BUY NOW $34.95 or less!
Click Here

To Purchase Industrial Hydrogen and/or the Hydrogen
COMBO packs of Hydrogen Books and Hydrogen DVDs, Click HERE.



Original CONTENTS OF THE BOOK in BLUE with EXPLANATIONS and PHOTOS Inserted.

CHAPTER I. INTRODUCTION . 15
Growth of the Industry. Uses of Hydrogen. Sources of Hydrogen Supply. Classification of Systems of Production. Choice of Process. Safety Precautions.

- Explanation from Steve.  Chapter one covers the history and use of hydrogen.  Hydrogen has been used for several centuries on a regular basis.  In the beginning it was used for balloons and other lighter than aircraft. Hydrogen has also EXTENSIVELY used in the metals field.  For the reduction of a metal oxide to a metal.  A good source of hydrogen makes it easy to make iron, zinc, aluminum and a whole variety of other metals.  It is also used to increase the heat transfer inside a furnaces and as an isolation atmosphere.  We have been able to produce hydrogen on large scales since the 1800's and even more so since the early 1900's.  Only today in the 21st century is the general public so blind to the fundamentals of chemistry and the massive uses of hydrogen and views it with such tunnel vision.  Hydrogen *IS* extensively made and used by all petroleum refineries.  Some ways crude, others simple, some small and most are large.   Chapter 2 below covers one of the ways that it is made in towers 100 feet tall.  The same method ALSO works on a 4 foot tower which we will be demonstrating SOON on video snippets to you.  This book *IS* very applicable to the experimenter, the hydrogen enthusiast and the student or researcher.

CHAPTER II. HYDROGEN FROM STEAM AND IRON . . 25
Reactions of the Process. Historical. The Contact Mass. Typical Generator Units. Multi-retort Type. Single-unit Type. Operational Procedure. The Reduction Phase. The Steaming Period. Aeration. Thermal Balance of Process.
 
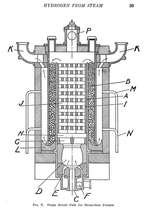
The diagram on the left is a diagram of a classic iron steam reactor.  Iron and steam form Hydrogen.  Large amounts of it.  This reactor can be 300feet tall, it can be 3 feet tall.  Ok..maybe 4 feet.  You can heat and operate it with natural gas, propane or charcoal. It is made of brick, firebrick, high temp insulation, iron balls, iron tubes and a little chewing gum.  No expensive catalysts or precious metals or silly membranes that get contaminated.   Iron plus steam equals iron oxide and hydrogen.  Every time you see rust on iron, you saw where hydrogen was produced.   Iron can rust from oxygen in the air, but it does it very very slowly compared to rusting from contact with water ( H2O).  Where there is rust, there was hydrogen produced, every time.  The Iron ( Fe) grabs the Oxygen ( O ) from Water ( H2O) and it forms FeO or Fe2O3 or Fe3O4 and the Hydrogen ( H2) gets liberated.  This reaction can happen slowly at room temperature (or even in the artic) or it can happen faster at the temperature of a natural gas flame, about 1800F, bright red temperature.  This temperature is not hard to reach and ceramic kilns that artists use operate at a much higher temperature.

If you want to know what A - P are so you can think about making one of these for yourself then you need to get the book. You can do this with natural gas, fire brick, some iron tubes, a bunch of steel hex nuts and a pressure cooker for a steam source.  We will be showing you this on video in the near future.

CHAPTER III. HYDROGEN FROM WATER-GAS AND STEAM . 60
Theoretical. The Continuous Water-Gas Catalytic Process. Outline. Catalysts. Operational Details. Gas Composition Flow-sheets. Plant Details. Further Purification: Griesheim-Elektron Process. Outline. Literature Resume. Mechanism of Reaction. Operational Details: Dieffenbach and Moldenhauer Process. Outline. Literature Resume. Mechanism of Reaction.

Carbon and water makes Hydrogen (H2) and Carbon Monoxide (CO).  Depending on the temperature of the reaction, the speed of the reaction and if a catalyst used.  It can run at lower temperatures with a non-precious metal catalyst.  In many cases the nickel and/or iron in the tubes are enough for a catalyst.  The reaction generally makes CO and H2. This is called " Water Gas " ( or it use to ) and is now called Synthesis Gas in many fields. If more water is added to the CO then more Hydrogen is produced.  CO is thought of a poison but it is a wonderful, incredible chemical that is the foundation of the future hydrogen economy.  You could not have much of what is around and on you without CO.  Next time you read a "hydrogen book" from some "expert", if you don't see details in there on Carbon Monoxide, throw the book in the trash because it is mush for the masses from a brain full of mush. So the CO combines with H2O to make CO2 (carbon dioxide) and more H2.  This very important for you to understand ( especially students) because this is called a Water Gas Shift (WGS) and is the basis of reformation used to make (attempts at it) hydrogen for fuel cells.

CHAPTER IV. HYDROGEN FROM WATER-GAS BY LIQUEFACTION . 90

Theoretical. The Linde-Frank-Caro Process. The Claude Process. Composition of Gas Fractions. Utilization of Carbon Monoxide Fraction. Plant Details. General Remarks. Miscellaneous Physical Methods of Preparation.

Take the gas you make in chapter 2 and run it through some high pressure compressors, do some heat exchange, and more heat exchange and you start getting very low temperatures.  If your gas stream coming out is mostly hydrogen and carbon dioxide then you do not have to get cold enough to make liquid hydrogen ( ~4 Kelvin), but just cold enough to make dry ice ( solid CO2), or even liquid CO2 ( used in paint ball guns). What is left is COLD HYDROGEN!  Ok. its separated. While you are at it you might as well make some liquid oxygen and nitrogen. ( see the book Industrial Gasses at www.KnowledgePublications.com)   Note: we will be having some video snippets on how to make VERY VERY cold temperatures with off the shelf equipment..  Note: A bunch of "free energy" NUTS get all excited about the " Linde " process. DO NOT confuses the genius of this industrial pioneer with the crackpots using his good name for their bunk. 

CHAPTER V. HYDROGEN BY ELECTROLYSIS . 102
Theoretical. Energy Factors. Mechanism. Early
Forms of Apparatus. Modern Plants. I. 0. C.-Unit
Generator. Levin Cell. Burdett Cells. High Amperage Units. By-Product Electrolytic Hydrogen. Energy Factors in Alkali-Chlorine Cells. Types of Cells.

Electrolysis of hydrogen is the form that most of you are familiar with and it is where a lot of the ' hype ' is today in modern (ignorant) society.  Electrolytic hydrogen has been made on an industrial scale for over 100 years.  In fact, OXYGEN is either made in two main methods. Liquefaction of Air ( again, see  Industrial Gasses at www.KnowledgePublications.com ) or by electrolysis.  Today submarines continue to make their oxygen for breathing by electrolysis.  If you need to make small volumes of pure oxygen, you'd use this method today as well.  In this chapter are diagrams of large industrial sized electrolyzers that are NOT made with fragile, expensive, hard to get proton exchange membrane (PEM).  The metals and the separators and the gas separation is simply detailed.  Personally I think this is the most boring part of the book, but if you are excited about electrolyzers then this chapter is for you!   These can be made to run on 10,000amps, or 10amps. The science is the same.

CHAPTER VI. HYDROGEN FROM WATER . . 123
The Bergius Process. Description of Process. General Discussion. Field Processes. Metallic Sodium Processes. Hydrolith Process. Aluminum Amalgam Processes.

This chapter discusses the methods of making large amounts of hydrogen quickly.  Such as in past military applications when H2 was used for observation balloons and for 'barrage balloons' and meteorological balloons.  Thus it talks about portable hydrogen generations significantly.  From the production of H2 from Carbon and Water in a pressure vesicle at about 650F. It makes CO2 and H2 all day. Chapter covers using iron instead of carbon in the same process, the use of metalic sodium for rapid hydrogen production from water ( sodium is the 3rd cheapest metal to make behind iron and zinc), the use of rapid hydrogen production from hydrides such as Calcium Hydride and advanced methods of using aluminum and water.

CHAPTER VII. HYDROGEN FROM AQUEOUS ALKALIS . . 131
The Silicol Process. Outline. Literature Resume. Experimental Data. Plant Details. Operational Details. Ferro-Silicon Specification. Gas Composition. The Sludge and Its Disposal. General Remarks on Efficiency and Economy : Aluminum-Sodium Hydroxide Process.

Covers the generation of hydrogen from Si ( silicon).  That's elemental silicon, NOT silicone you use on a bath tube and the hybrid of silicon called Ferro-Silicon.  Ferro-Silicon is one of the most dense, reactive ways of storing / transporting hydrogen for making large volumes of it very quickly in a very small amount of space.  The chapter also covers in chemical detail the " Drano + aluminum foil + water " method you pay $10 for on ebay.  Only this covers the chemistry of Aluminum and Sodium Hydroxide and the byproduct of the reaction.


CHAPTER VIII. HYDROGEN FROM HYDROCARBONS . . 147
Stability of Hydrocarbons. Processes of Thermal Decomposition. From Coal-Gas. From Natural Gas, Petroleum and Tar Oils. From Acetylene. Processes of Interaction with Steam.
There is a hydrocarbon gas in this chapter that is cheap and easy to obtain that wants to make hydrogen very easily and very quickly.  In as small of an area as a 12" piece of 1/4" tubing that is red hot.  Hydrogen is made from hydrocarbons on a very large scale today, and you can do it to.  You must understand the field.

CHAPTER IX. MISCELLANEOUS AND BY-PRODUCT HYDROGEN PROCESSES . . 160
The Decomposition of Formates. Hydrogen from Dehydrogenation Processes. Hydrogen from Fermentation Processes. Hydrogenite Process. Hydrogen from Sulphides. Hydrogen from Acids.

Covers the generation of hydrogen from mostly organic sources.  Including the dehydrogenation of alcohol. Using " booze" as a source of Hydrogen by decomposing it with heat and copper.   Chapter also covers making hydrogen by FERMENTATION.  Yes! a special yeast that you can still purchase that will decompose cellulose or corn or any of the sugars.  It produces flammable liquids that CAN be distilled off to run your car with hydrogen boosting AND it also makes H2 and CO2 in abundance. So much abundance that a company took these ' undesirable byproducts' and converted it under pressure into methanol and sold the methanol. This makes millions of times more hydrogen than 'blue green algae'   Entire industries, especially during WWII,  were entirely dependent on this method.  This CAN be done in a 5 gallon container OR it can be done in tanks that take up hundreds of thousands of gallons.

CHAPTER X. THE PURIFICATION AND TESTING OF HYDROGEN . 171
Purity of Commercial Product. Removal of Sulphur Compounds. Removal of Carbon Dioxide. Removal of Carbon Monoxide. Removal of Methane. Removal of Phosphine and Arsine. Removal of Oxygen. Removal of Water Vapour. Testing of Hydrogen. Physical Methods: Effusion Apparatus. Thermal Conductivity Processes. Gas Interferometer. Chemical Methods: Analysis for Carbon Monoxide. Analysis for Oxygen. Detection and Estimation of Phosphine, Arsine, Sulphuretted Hydrogen and Acetylene.

How to purify hydrogen, clean it up, remove sulfurs, how to test it etc....  great chapter.

APPENDIX  . . 201

BUY NOW $34.95 or less!
Click Here

To Purchase Industrial Hydrogen and/or the Hydrogen
COMBO packs of Hydrogen Books and Hydrogen DVDs, Click HERE.


SUBJECT INDEX

Acetylene, detection and estimation in hydrogen, 200.
-, hydrogen from, 157-158.
Acids, hydrogen from, 169, 170. Alkali formates, decomposition of, 160-162.
- -, synthesis of, 160-161. Aluminum-amalgam hydrogen process, 129.
Aluminum-sodium hydroxide process, 145.
Ammonia synthesis, hydrogen requirements for, 16.
Ammoniacal copper solutions, purifi-
cation of hydrogen by, 185-188. Analysis of hydrogen, 191-200. Aqueous alkalis, hydrogen from,
131-146.
Aqueous alkalis, purification processes with, 184-185.
Argon in nitrogen-hydrogen mixtures, 74.
Arsine, detection and estimation in hydrogen, 199.
Arsine, removal from hydrogen, 190.
Bamag-Bunte process, 153, 154. Bergius process, 123-127.
Burdett hydrogen cells, 117-118. By-product electrolytic hydrogen, 120-122.
Calcium carbide, purification with, 188.
Carbon deposition, steam-iron process, 45.
-- , - - - , prevention of, 46. Carbon dioxide removal, 72, 73, 80, 176-178.
Carbon disulphide, removal from hydrogen, 175-176.
Carbon monoxide, catalytic decomposition, 45.
- estimation in hydrogen, 195198.
- -, liquefaction of, 90-99.
- -, removal of, 64-80, 90-99, 178188.
Catalytic hydrogenation, 16, 179, 180.
Catalysts for interaction of hydrocarbons with steam, 158. Catalysts for water-gas reaction, 6469.
Chemical analysis of hydrogen, 195200.
Choice of hydrogen process, 21, 22. Classification of production methods, 19-21.
Claude liquefaction process, 94-96. Coal gas, hydrogen from, 152-154. Contact mass, steam-iron process,
28-31.
- -, reduction of, 42-48.
- -, steaming of, 48-52.
Cuprous salts, ammoniacal, for hydrogen purification, 185-188.
Dehydrogenation processes, hydrogen from, 163-165.
Dieffenbach and Moldenhauer process, 86-89.
- - - -, mechanism of, 88-89. - - - -, theory of, 63.
Diffusion processes of hydrogen preparation, 99-100.
Efficiency of liquefaction process, 98-99.
- - silicol process, 144.
- - steam-iron process, 56-59.
- - water-gas catalytic process, 75. Effusion meters, 191-192. Electrolabs-Levin Cell, 115-117,
118.
Electrolytic hydrogen, 102-123. - -, apparatus for, 107-118.
- -, by-product, 120-122. Electrolytic hydrogen cells, Burdett, 117.
- - Garuti, 108.
- - International Oxygen Co., 110.
- - Levin-Electrolabs Co., 115. - - Schmidt, 109.
- - Schoop, 110.
- - Schuckert, 110.
Electrolytic hydrogen production, theory of, 102-106.
- - -, operating details, 119.
Equilibria, iron oxides and carbon monoxide, 27.
-, iron oxides and hydrogen, 2526.
-, water-gas reaction, 45, 46, 50, 60, 61.
-, with steam and hydrocarbons, 150-152.
Estimation of impurities in hydrogen, 191-200.
Fermentation processes, hydrogen from, 165.
Ferro-silicon specifications, for hydrogen production, 143.
Field processes of hydrogen production, 127-130.
- -, aluminum amalgam, 129.
- hydrolith, 128.
- -, metallic solium, 127.
Flow sheets, liquefaction process, 91. -, water-gas catalytic process, 74, 76.
Gas consumption, liquefaction process, 91, 98.
- -, steam-iron process, 44-47.
- water-gas catalytic process. 75. Gas interferometer, use of, in hydrogen analysis, 194.
Greenwood's modification of Gries-
heim-Elektron Co's process, 84.
Griesheim-Elektron Co's process, 80-
86.
- - -, mechanism of, 82.
- - -, patent literature, 81. Griesheim-Elektron Co's process, purity of gas from, 85.
- - -, theory of, 62-63.
Harger-Terry purification process, 180-183.
Hydrocarbons, hydrogen from, 147159.
- -, theory of, 147-152. Hydrocarbons, interaction with carbon dioxide, 151.
- - steam, 158, 159. Hydrocarbons, thermal decomposition of, 152-158.
Hydrogen from acetylene, 157-158.
- acids, 169-170.
- alkali formates, 160-162.
aluminum amalgam, 129.
- - aluminum-sodium hydroxide,
145.
- aqueous alkalis, 131-146.
coal gas, 152-154.
- dehydrogenation processes, 163165.
Hydrogen from diffusion processes, 99-100.
- - electrolytic processes, 102-123.
- fermentation processes, 165.
- ferro-silicon, 131-145.
- field processes, 127-130.
- - hydrocarbons, 147-159.
- Hydrogenite process, 167.
- Hydrolith process, 128.
- Lane process, 31-37.
- - liquefaction processes, 90-99. - - Messerschmitt system, 37, 38. - - natural gas, 154-157.
- petroleum, 154.
- - sulphides, 169.
- - silicol process, 131-145.
- sodium, 127.
- steam, 25-59.
- tar oils, 154-157.
- - volcanoes, 18.
- water-gas, 90-99.
- - water-gas and steam, 60-89. Hydrogenite process, 167, 168. Hydrogen purification, 171-191. Hydrogen sulphide, removal from
hydrogen, 173-175.
Hydrogen supply, sources of, 18, 19. Hydrolith process, 128.
Ignition temperatures of gases, 23. Inflammability of hydrogen, 23. Interferometer, use of, 194. International Oxygen Co.'s electro-
lytic hydrogen cells, 110-114.
Lane generator, 32-34.
Levin electrolytic cell, 115-117. Linde-Frank-Caro process, 92-94. Liquefaction processes, 90-99. - - Claude process, 94-96.
- composition of gas, 96, 97. - - efficiency of, 98, 99.
- - flow sheet. 91
- Linde-Frank-Caro, 92-94. - -, plant details, 97-99.
Messerschmitt hydrogen plant, 37, 38.
Methane from carbon monoxide, 179. -, hydrogen from, 152-158.
-, removal from hydrogen, 75, 152158, 188, 190.
Meteoric hydrogen, 18.
Multi-retort generators, steam-iron process, 31-37.
Natural gas, hydrogen from, 154157.
Nitrogen-hydrogen mixtures in water-gas catalytic process, 73.
Nitrogen in liquefaction process hydrogen, 91.
Nitrogen in spent water-gas, 47. Nitrogen in steam-iron process hydrogen, 50, 172.
Nitrogen in water-gas, 47.
Nitrogen in water-gas catalytic hydrogen, 50, 172.
Nitrogen, removal from hydrogen, 188.
Oechelhauser process, 153. Over-voltage, hydrogen, 104, 105.
- - oxygen, 104-106. Oxygen detection in, 199. - estimation in, 198, 199.
- removal from hydrogen, 191.
- requirements for preferential com-
bustion, 180.
Petroleum, hydrogen from, 154-157. Phosphine, detection and estimation in hydrogen, 199.
-, removal from hydrogen, 190. Physical methods of hydrogen prep-
aration, 90-101, 102-123. Preferential combustion of carbon
monoxide, 180-183.
Pressure water washing, carbon dioxide removal by, 80.
Purification of hydrogen, 171-191.
- - from arsine, 190.
- - - - carbon dioxide, 80, 176178.
- - - carbon disulphide, 175.
- - - carbon monoxide, 178-188. - - hydrogen sulphide, 173175.
- - - methane, 188-190.
- - - nitrogen, 188.
- - - oxygen, 191.
- - - phosphine, 190.
- - water vapor, 191.
Reducing gases, steam-iron process, 42-48.
Rincker and Wolter process, 154155.
Safety precautions, 22, 23.
Silicol process, 131-145.
- experimental data, 132-139.
- ferro-silicon specifications, 143. - -, generator problems, 136, 137. - -, heat effect in, 135.
- -, operating details, 141, 142. - -, plant details, 139-141.
- -, sludge disposal, 144.
- -, sodium hydroxide requirements, 138.
Single retort system, steam-iron process, 37-41.
Soda-Lime, purification of hydrogen by, 183, 184.
Sodium, hydrogen from - and water, 127, 128.
Specific heats of carbon dioxide, carbon monoxide, hydrogen and steam, 55.
Spent water-gas, steam-iron process, 46, 47.
Steam-iron process, 25-59.
- -, aeration, 52.
- - Bamag plant, 41.
- - -, contact mass, 28-31.
- efficiency of, 56-59.
- - -, Grigg's modification, 38-40. - - -, historical, 27, 28.
- - -, Lane generator, 32-34.
- multi-retort type, 31-37.
- -, purification of gas, 51-52,
171-191.
- - -, purity of gas, 50, 51, 172.
- -, reduction phase, 42-48. - - -, scavenging period, 49.
- -, single retort type, 37-41. - - -, steaming phase, 48-52. - - -, thermal balance, 53-59.
- - -, water - gas - hydrogen ratio,
44-47.
Sulphides, hydrogen from, 169.
Tar oils, hydrogen from, 154-157. Testing of hydrogen, 191-200.
- - - chemical methods, 195-200. - - physical methods, 191-195. Thermal conductivity of hydrogen
and other gases, 193, 194.
Utilisation of hydrogen, 15, 16, 17.
- - -, future possibilities, 17.
Vapor pressure of carbon monoxide, 92.
- - - nitrogen, 92.
Volcanic hydrogen, 18.
Water-gas, analysis of, 61. Water-gas catalytic process, 64-80.
- - -, carbon dioxide removal,
72.
- - - catalysts for, 64-69.
- - - -, catalytic unit, 76.
- - - flow sheets, 74, 76. - - -, gas compressors, 79. - - -, heat interchangers, 77. - - -, operation of, 69-74. - - -, outline of, 64.
- - -, plant details, 76-80.
Water-gas catalytic process, steam consumption, 70-72.
— — —, theory of, 60-62.
—, water compressor, 79.
- — —, water-gas, hydrogen ratio, 75.
Water-gas consumption, liquefaction process, 98, 99.
Water-gas consumption, steam-iron process, 43-45.
— —, water gas catalytic process, 75.
Water-gas equilibrium, 45, 46, 50, 60, 61.
Water-gas reaction, heat of, 54. Water vapor, removal from hydrogen, 191.

BUY NOW $34.95 or less!
Click Here

To Purchase Industrial Hydrogen and/or the Hydrogen
COMBO packs of Hydrogen Books and Hydrogen DVDs, Click HERE.